NG 900/9-3 Engine Assembly

From The Saab Tech Wiki
Jump to: navigation, search

Engine Assembly

Notes

Clean all components and blow them dry. Check that water and oil passages in the engine block and piping are clean.

Wash all sealing surfaces with benzine, making sure that they are completely clean.

Assembly Steps

1. Fit the piston cooling nozzles (B204L-Turbo), place all main bearings in their correct positions and coat them with oil.

Fitting Engine Bearings

Important: Observe the utmost care when handling the perforated disc.

2. Fit the perforated disc, place the crankshaft in position and fit the two thrust washers at the main bearing between cylinders No. 2 and No. 3. Fit the washers with their embossed side towards the main bearing so that the bearing surface is the right way round.

Fitting Crankshaft

3. Lubricate and fit the main bearing caps in their correct positions, making sure that they are the right way round.

Tightening torque: 110 Nm (81.4 lbf ft).

4. Rotate the compression rings so that their gaps are displaced 120 degrees from each other and in line with the gudgeon pin bosses. Also make sure that the gaps in the three-part scraper ring are staggered and not in line with each other.

Compression Rings)

5. Fit protective collars on the connecting rod studs. Lubricate the pistons and rings and fit the pistons in their cylinders. Ensure that the arrow marked on the piston crown faces the timing end of the engine. Use piston installing tool and gently tap the pistons down into the cylinders.

6. Lubricate and fit all big-end bearing caps in their original positions, making sure they are the right way round (number to number, groove in shell to groove in shell).

Tightening torque 48 Nm (35.5 lbf ft).

7. Apply a bead of Loctite flange sealant about 1 mm thick on the mating surface of the end plate and fit the end plate. Mind the gasket.

End Plate

8. Fit the flywheel or driver disc but do not tighten it. Use thread locking compound on the bolts. Use flywheel locking segment (SAAB tool No. 83 94 868) and tighten the bolts.

Fitting Flywheel

Tightening torque 80 Nm (59.2 lbf ft) and 95 Nm (70.3 lbf ft).

9. Align the mark (0°) on the flywheel or driver disc with the mark on the end plate.

10. Lubricate the bearing surfaces on the balance shafts and in the bearing housings and insert the balance shafts into their respective tunnels, taking the utmost care to avoid damaging the bearing shells inside.

Balance Shaft

Important: The shaft with the smaller thrust ring marked INL is the one for the inlet side of the engine. The shaft with the larger thrust ring marked EXH is the one for the exhaust side of the engine.

11. Check the timing chain and fit the sprocket and chain onto the crankshaft end and fit the chain guard.

12. First fit the fixed chain guide, which is common to the timing chain and balance-shaft chain, and then the pivoted chain guides for the timing and balance-shaft chains.

Timing Chain Guide

13. Fit the balance-shaft sprocket and the oil-pump driver onto the crankshaft end.

14. Cock the chain tensioner and insert a paper clip or the like through the hole in the cylinder to prevent triggering of the tensioner. Before this, make sure that the plunger is turned to the position where it really is pressed out by the spring.

Timing Chain Tensioner

15. Fit the chain tensioner.

Warning: It is extremely important for the correct torque to be applied when fitting the chain tensioner.

Tightening torque: 10 Nm (7.4 lbf ft)

16. Inspect the balance-shaft chain and fit it and the idler sprocket so that the setting marks behind the balance-shaft sprocket and on the bearing housing are in line with each other. Tauten the chain between the crankshaft and balance shafts. Fit the idler sprocket last. Hold the bolt in place with your thumb, mesh the teeth of the sprocket with the chain and roll the sprocket along the chain into position.

Timing Chain Guide

17. Fit the top chain guide, pull the chain slightly away from the cylinder block and trigger the tensioner. Press the tensioner inwards to check that there is a certain amount of play. Rotate the crankshaft one revolution and then check that the chain is set up correctly.

18. Make sure the mating face on the timing cover is completely clean. Apply a bead of flange sealant approx. 1 mm thick on the timing cover. Apply the bead in the centre of the sealing surfaces.

Fitting the Timing Cover

19. Fit the timing cover.

Tightening torque: 22 Nm (16 lbf ft).

20. Fit the oil pump.

21. Fit the oil pump pressure pipe and check that there are no impurities or other foreign matter in the sump.

Fitting the Oil Pump

22. Make sure the mating surface on the oil sump is completely clean and apply an even coat of flange sealant to it. Invert the engine and fit the oil sump.

Tightening torque: 22 Nm (16 lbf ft).

23. Invert the engine in the stand, rotate the crankshaft through 45 degrees and fit the cylinder head, using a new gasket. Check that it is correctly seated in the locating sockets and that the chain is not trapped.

Cylinder Head Bolts

Tighten the cylinder head bolts in three stages:

Stage I 40 Nm (30 lbf ft)

Stage II 60 Nm (44 lbf ft)

Stage III Tighten a further 90 degrees (1/4 turn)

Tighten the bolts in the sequence shown.

24. Fit the two bolts between the timing cover and the cylinder head.

Camshafts

Tightening torque: 22 Nm (16 lbf ft).

25. Check that the camshafts are in alignment with their setting marks and turn the crankshaft back to the 0° mark.

26. Fit the camshaft sprockets and chain. Start with the camshaft on the inlet side.

Do not tighten the bolts yet.

27. Prepare the chain tensioner for fitting by pressing down the catch and pushing in the chain tensioner.

Chain Tensioner

28. Fit the chain tensioner, using a 27 mm socket.

Tightening torque: 63 Nm (47 lbf ft).

29. Fit the plug for the chain tensioner with push rod and spring.

Tightening torque: 22 Nm (16 lbf ft).

30. Check that the chain is correctly seated in the guides. Rotate the crankshaft two complete turns and check that the timing marks on the flywheel and camshafts are still in alignment.

31. Tighten the camshaft sprocket bolts.

Tightening torque: 63 Nm (47 lbf ft).

32. Clean the flanges of the camshaft cover, using benzine.

Camshaft Cover, Spark Plugs and DIC

33. Apply soap to the open end of the camshaft cover and fit the cover, starting at the open end. Then tighten the bolt located furthest to the front at the timing end. Then continue all the way round, on both the inside and outside.

Tightening torque: 15 Nm (11 lbf ft).

34. Fit the spark plugs.

Tightening torque: 28 Nm (20.7 lbf ft).

35. Fit the ignition discharge module or ignition cables and the cover plate.

Tightening torque: 11 Nm (8 lbf ft).

36. Fit flywheel locking segment and tighten the crankshaft pulley.

Crankshaft Pulley

Tightening torque 175 Nm (129.5 lbf ft).

Remove the locking segment.

37. Fit the exhaust manifold and fit a new gasket. If the exhaust manifold is of two-piece type, fit the outer section before the inner section. Check that the contact surfaces for the front pipe are level with each other. Note that spacer sleeves are fitted on the outer studs only.

Exhaust Manifold and Oil Filter Adapter Housing

Tightening torque: 25 Nm (18.5 lbf ft).

38. Fit the adapter housing with oil filter. Fit the crankshaft position sensor and the thermostat housing cover.

39. Fit the power steering pump and bracket.

40. Fit the turbocharger.

Water and Oil Pipes, and Engine Mounting Bracket

Tightening torque: 22 Nm (16 lbf ft).

41. Connect the water and oil pipes (turbo).

Important: The rubber seals should be placed against the cylinder block.

42. Fit the turbocharger steady bar and crankcase breather pipe together with the inlet pipe (turbo). Mind the O-ring.

43. Lubricate the O-rings with Vaseline (petroleum jelly) and fit the water pump and water pipes from the expansion tank and heat exchanger. Fit the clips for the crankshaft sensor cable at the same time.

44. Fit the bracket for the engine mounting.

45. Align the intake manifold gasket and fit the intake manifold.

Intake Manifold

Tightening torque: 22 Nm (16 lbf ft).

46. Refit the intake manifold steady bar and connect the crankcase breather nipple.

47. Connect the cables for the ignition discharge module (turbo) and temperature sensor, and the hoses for the throttle body. Fit the oil filler pipe bracket.

48. Remove the tool and check that the torque converter bottoms in the transmission and that the locking screw is fitted (automatic transmission). Introduce the transmission into place and tighten the bolts.

Fitting Transmission

49. Fit the torque converter (automatic transmission) retaining bolts. Use thread locking compound on the bolts.

Turning torque 30 Nm (22 lbf ft).

50. Fit a lifting sling to the engine and lift it off the stand. Remove the fixture and lower the engine onto a trolley.

Lift Engine Off Stand

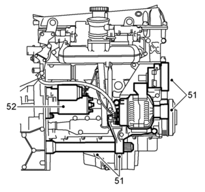
51. Fit the bearing bracket with tube and inner drive-shaft joint. Refit the alternator, reconnect the leads and fit the belt tensioner.

Alternator and Starter

52. Fit the starter motor and connect the cables. Check that the oil plug is properly tightened. The engine is now ready for fitting in the car.